产品概述:方管折弯机是一种能够对薄板进行折弯的机器,其结构主要包括支架、工作台和夹紧板,工作台置于支架上,工作台由底座和压板构成,底座通过铰链与夹紧板相连,底座由座壳、线圈
服务热线:18018428808
方管折弯机是一种能够对薄板进行折弯的机器,其结构主要包括支架、工作台和夹紧板,工作台置于支架上,工作台由底座和压板构成,底座通过铰链与夹紧板相连,底座由座壳、线圈和盖板组成,线圈置于座壳的凹陷内,凹陷顶部覆有盖板。使用时由导线对线圈通电,通电后对压板产生引力,从而实现对压板和底座之间薄板的夹持。由于采用了电磁力夹持,使得压板可以做成多种工件要求,而且可对有侧壁的工件进行加工,操作上也十分简便。

1、滑块部分:采用液压传动,滑块部分由滑块、油缸及机械挡块微调结构组成。左右油缸固定在机架上,通过液压使活塞(杆)带动滑块上下运动,机械挡块由数控系统控制调节数值;
2、工作台部分:由按钮盒操纵,使电动机带动挡料架前后移动,并由数控系统控制移动的距离,其小读数为0.01毫米(前后位置均有行程开关限位);
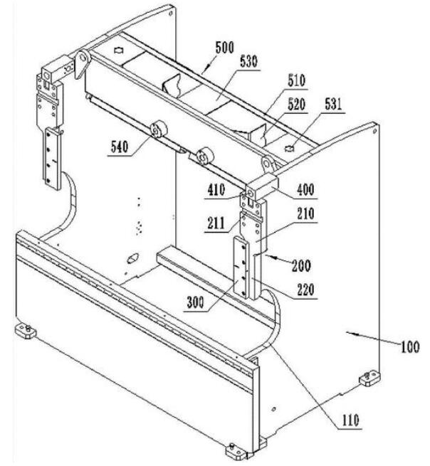
3、同步系统:该机由扭轴、摆臂、关节轴承等组成的机械同步机构,结构简单,性能稳定可靠,同步精度高。机械挡块由电机调节,数控系统控制数值;
4、挡料机构:挡料采用电机传动,通过链操带动两丝杆同步移动,数控系统控制挡料尺寸。

1、采用全钢焊结构,具有足够的强度和刚性;
2、液压上传动,机床两端的油缸安置于滑块上,直接驱动滑动工作;
3、滑块同步机构采用扭轴强迫同步;
4、采用机械档块结构,稳定可靠;
5、滑块行程机动快速调,手动微调,计数器显示;
6、斜楔式的挠度补偿机构,以保证获得较高的折弯精度。

按普通的液压折弯机加工Q235板料来做简单介绍:
1、首先是接通电源,在控制面板上打开钥匙开关,再按油泵启动。
2、行程调节,折弯机使用须要注意调节行程,在折弯前要试车。折弯机上模下行至底部时须保证有一个板厚的间隙。否则会对模具和机器造成损坏。行程的调节也是有电动快速调整和手动微调。
3、折弯槽口选择,一般要选择板厚的8倍宽度的槽口。如折弯4mm的板料,需选择32左右的槽口。
4、后挡料调整一般都有电动快速调整和手动微调,方法同剪板机。
5、踩下脚踏开关开始折弯,折弯机与剪板机不同,可以随时松开,松开脚折弯机便停下,再踩继续下行。